Студопедия Главная Случайная страница Обратная связь

Разделы: Автомобили Астрономия Биология География Дом и сад Другие языки Другое Информатика История Культура Литература Логика Математика Медицина Металлургия Механика Образование Охрана труда Педагогика Политика Право Психология Религия Риторика Социология Спорт Строительство Технология Туризм Физика Философия Финансы Химия Черчение Экология Экономика Электроника

ЛАБОРАТОРНАЯ РАБОТА № 6





ОПРЕДЕЛЕНИЕ ПРОЧНОСТНЫХ ХАРАКТЕРИСТИК

ГЛИНИСТЫХ ГРУНТОВ 12248-96 /1/

 

Цель работы - определение параметров прочности грунта φ и С: φ – угол внутреннего трения (градусы); С – удельное сцепление глинистого грунта (МПа).

 

Общие сведения о требованиях ГОСТ 12248-96 /1/.

Правильный выбор показателей сопротивления сдвигу, как основных прочностных характеристик грунтов, имеет первостепенное значение для практики, т. к. они обуславливают точность инженерных расчетов по определению предельной нагрузки на грунт, устойчивости массивов грунта и давления грунтов на ограждения.

Сопротивление сдвигу одного и того же грунта непостоянно и зависит от физического состояния грунта – степени нарушенности естественной структуры, плотности, влажности, а также от условий производства испытаний (конструкция прибора, размеры образца, скорость сдвига и т.д.).

Для получения наиболее достоверных данных испытания на сдвиг должны всегда проводиться в условиях, максимально приближающихся к условиям работы грунта под сооружением или в самом сооружении.

Методика испытаний определяется ГОСТ 12248-96 /1/. В зависимости от вида грунтов, их состояния, характера нагружений грунтовых оснований под зданиями и сооружениями сопротивление грунтов сдвигу может определяться двумя методами:

1) консолидированный срез;

2) неконсолидированный срез.

ГОСТ 12248-96 /1/ требует проведения испытаний для грунтовых образцов, находящихся в двух состояниях: при естественной влажности и в водонасыщенном состоянии.

В нашем случае работа преследует цель дать лишь общее представление о методике испытаний. Условно считается, что за основу принята методика консолидированного сдвига грунтовых образцов при сохранении естественной влажности грунтов.

Определение сопротивления сдвигу глинистых грунтов

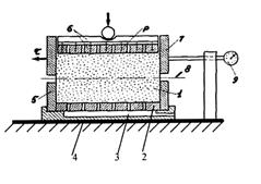
Настоящая лабораторная работа предусматривает определение сопротивления грунта сдвигу в односрезном плоскостном приборе с верхней подвижной обоймой (рисунок 6).

Рисунок 6 - Принципиальная схема односрезного плоскостного прибора прямого сдвига:

1 – образец грунта; 2 - фильтр; 3 - поддон; 4 – станина; 5 – неподвижное кольцо-обойма; 6 – фильтр-штамп; 7 – подвижное кольцо- обойма; 8 – плоскость сдвига; 9 – индикатор для замера деформаций сдвига

 

Лабораторные испытания грунтов для определения показателей трения и сцепления способом поперечного сдвига производятся путем последовательного среза 3-х образцов исследуемого грунта. Образцы предварительного не уплотняются или уплотняются в продолжение короткого времени, за которое не наступает полной консолидации. Сдвиг быстрый, т.е. увеличение сдвигающей силы производят быстро, не дожидаясь прекращения деформаций, при лессовидных грунтах при полном водонасыщении грунта.

Срез производится при 3-х значениях нормального давления:

образец № 1 - Р1 = 0,1 МПа; образец № 2 – Р2 = 0,2 МПа; образец № 3 – Р3 = 0,3 МПа.

Такая схема (незавершенное уплотнение и быстрый сдвиг) характеризует возможное сопротивление сдвигу грунтов в начальные моменты приложения вертикальных (сжимающих) нагрузок от сооружения.

Согласно теории предельного напряженного состояния, связь между сопротивлением сдвигу и нормальным давлением в плоскости среза выражается уравнением: τ = Р·tgφ + С

 

Необходимое оборудование:

1. Сдвиговой прибор ГГП–30. Основные характеристики прибора: высота кольца 35-50 мм; диаметр кольца – 71,4 мм; площадь поперечного сечения – 40 см2.

2. Монолит образца грунта ненарушенной структуры и естественной влажности, отобранный согласно ГОСТ 12071-2000 /2/.

3. Нож с ровным краем.

4. Секундомер.

5. Технический вазелин.

 

Ход работы:

1. Подготавливают три образца. Для чего вскрывают монолит и на его поверхности выравнивают площадку. Поверхность металлической обоймы смазывают вазелином и устанавливают ее на монолит заостренным краем вниз. Обрезая ножом вокруг обоймы, постепенно врезают ее в грунт. Ровным краем ножа срезают лишний грунт с торцов и покрывают их влажной фильтровальной бумагой. Подобным образом вырезают три образца.

2. Подготавливают прибор:

а) соединяют разъемное кольцо прибора и закрепляют его неподвижно стопорными винтами;

б) устанавливают индикатор часового типа с ценой делений 0,01 мм в гнездо горизонтально.

3. С помощью подвижной рычажной системы грунт из цельной обоймы переводят в разъемное кольцо сдвигового прибора.

4. Прикладывают первое заданное вертикальное давление, равное 0,1 МПа (при существующем состоянии рычагов 1:4 это соответствует приложению на отвес массы 4 кг) и выдерживают 5 мин.

5. Присоединяют тросик подвески приложения горизонтальной сдвигающей нагрузки и освобождают каретку стопорными винтами.

6. Боковыми вертикальными винтами устанавливают зазор в разъемном кольце прибора, равный 0,5-1 мм.

7. Устанавливают индикатор в рабочее положение, когда конец стрелки малого круга (отсчет, мм) остановится на нулевом показателе. Вращением головки подводят нулевое деление внешней шкалы к большой стрелке, отсчет 0,01 мм.

8. Прикладывают горизонтальную сдвиговую нагрузку с интервалом в 30 секунд:

а) при Р1 = 0,1 МПа первая нагрузка 0,01МПа (на подвеску 0,4 кг), затем ступенями по 0,0025 МПа (на подвеску по 0,1 кг);

б) при Р2 = 0,2 МПа первая нагрузка 0,015 МПа (на подвеску 0,6 кг), затем ступенями по 0,005 МПа (на подвеску по 0,2 кг);

в) при Р3 = 0,3 МПа первая нагрузка 0,02 МПа (на подвеску 0,8 кг), затем ступенями по 0,005 МПа (на подвеску по 0,2 кг).

Интенсивность τ сдвигающего усилия, передаваемого образцу (касательное напряжение), равна 1/40 нагрузки на подвеске рычага, т. е. τ = Q/40.

9. Отсчет по индикатору с точностью 0,01 мм берут перед приложением очередной ступени (через 30 сек.) до полного среза. Результаты записываются в журнал (таблица 11). Деформацией прибора пренебрегают.

10. За сопротивление образца грунта сдвигу принимается достигнутое максимальное значение сдвигающего напряжения τ в момент, когда оно перестает увеличиваться при непрекращающейся деформации сдвига.

11. Проводят разгрузку прибора, протирают его и повторяют испытания п.п. 2-10 для образца № 2 при Р2 = 0,2 МПа, а затем и для образца № 3 при Р3 = 0,3 МПа. Данные записывают в журнал (таблица 11).

Таблица 11 - Журналы определений сопротивления сдвигу в условиях незавершенного уплотнения

 

Масса груза сдвигающей нагрузки Q, кг Р1                                              
Р2                                              
Р3                                              
                                               
Отсчет по индикатору ∆ℓ, мм Р1                                              
Р2                                              
Р3                                              
                                               
Сдвигающие напряжения τ = Q/40, МПа Р1                                              
Р2                                              
Р3                                              
                                               

 

12. Строят графики зависимости развития деформации под влиянием сдвигающих напряжений ∆ℓ = f(τ) для каждого вертикального давления. Для этого на оси абсцисс откладывают величины деформаций ∆ℓ в мм, а на оси ординат – соответствующие им сдвигающие напряжения τ в МПа (пример построения графиков приведен в приложении В, рисунок 1).

13. Строят графики зависимости сдвигающих напряжений от вертикального давления τ = f(Р). На оси абсцисс откладывают величины вертикального давления, при котором проводили сдвиг – Р1, Р2, Р3 в МПа, а на оси ординат – соответствующие им сдвигающие напряжения τ1, τ2, τ3 (пример построения графика приведен в приложении В, рисунок 2).

Через полученные точки проводят среднюю прямую до пересечения с осью ординат. Отрезок прямой на оси ординат выражает величину удельного сцепления С. Тангенс угла наклона полученной прямой к оси абсцисс – есть угол внутреннего трения φ. Значение С и φ заносят в журнал (таблица 12) как конечные результаты опыта.

14. При быстром сдвиге с прибором ГГП–30 работают три человека. Один из них укладывает грузы на подвеску, другой снимает показания индикатора, регистрирующего сдвиг, третий – записывает показания.

 

Таблица 12

 

Вертикальное давление Р, МПа 0,1 0,2 0,3   С =
Сдвигающие напряжения τ, МПа       φ =

 

График зависимости сдвигающих напряжений от вертикального давления τ = f(Р)







Дата добавления: 2015-07-04; просмотров: 1130. Нарушение авторских прав; Мы поможем в написании вашей работы!




Практические расчеты на срез и смятие При изучении темы обратите внимание на основные расчетные предпосылки и условности расчета...


Функция спроса населения на данный товар Функция спроса населения на данный товар: Qd=7-Р. Функция предложения: Qs= -5+2Р,где...


Аальтернативная стоимость. Кривая производственных возможностей В экономике Буридании есть 100 ед. труда с производительностью 4 м ткани или 2 кг мяса...


Вычисление основной дактилоскопической формулы Вычислением основной дактоформулы обычно занимается следователь. Для этого все десять пальцев разбиваются на пять пар...

Ученые, внесшие большой вклад в развитие науки биологии Краткая история развития биологии. Чарльз Дарвин (1809 -1882)- основной труд « О происхождении видов путем естественного отбора или Сохранение благоприятствующих пород в борьбе за жизнь»...

Этапы трансляции и их характеристика Трансляция (от лат. translatio — перевод) — процесс синтеза белка из аминокислот на матрице информационной (матричной) РНК (иРНК...

Условия, необходимые для появления жизни История жизни и история Земли неотделимы друг от друга, так как именно в процессах развития нашей планеты как космического тела закладывались определенные физические и химические условия, необходимые для появления и развития жизни...

Педагогическая структура процесса социализации Характеризуя социализацию как педагогический процессе, следует рассмотреть ее основные компоненты: цель, содержание, средства, функции субъекта и объекта...

Типовые ситуационные задачи. Задача 1. Больной К., 38 лет, шахтер по профессии, во время планового медицинского осмотра предъявил жалобы на появление одышки при значительной физической   Задача 1. Больной К., 38 лет, шахтер по профессии, во время планового медицинского осмотра предъявил жалобы на появление одышки при значительной физической нагрузке. Из медицинской книжки установлено, что он страдает врожденным пороком сердца....

Типовые ситуационные задачи. Задача 1.У больного А., 20 лет, с детства отмечается повышенное АД, уровень которого в настоящее время составляет 180-200/110-120 мм рт Задача 1.У больного А., 20 лет, с детства отмечается повышенное АД, уровень которого в настоящее время составляет 180-200/110-120 мм рт. ст. Влияние психоэмоциональных факторов отсутствует. Колебаний АД практически нет. Головной боли нет. Нормализовать...

Studopedia.info - Студопедия - 2014-2026 год . (0.008 сек.) русская версия | украинская версия