Студопедия Главная Случайная страница Обратная связь

Разделы: Автомобили Астрономия Биология География Дом и сад Другие языки Другое Информатика История Культура Литература Логика Математика Медицина Металлургия Механика Образование Охрана труда Педагогика Политика Право Психология Религия Риторика Социология Спорт Строительство Технология Туризм Физика Философия Финансы Химия Черчение Экология Экономика Электроника

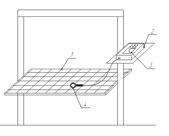
Опис лабораторної установки





 

Лабораторна робота виконується на лабораторній установці яка складається з робочої поверхні 1 та переносного фотоелектричного люксметра 2 (рис. 2.1). Робоча поверхня представляє собою поверхню стола, розмічену сіткою, для рівномірного виміру освітленості в кожній умовній точці робочої поверхні.

Для вимірювання освітленості використовуються переносні фотоелектричні люксметри. Принцип їх дії заснований на явищі фотоелектричного ефекту. У даній лабораторній роботі використовується люксметр Ю116.

 

5

1 – робоча поверхня, 2 – люксметр Ю-116; 3 – вимірник; 4 – селеновий фотоелемент з насадками; 5 – лампа накалювання

 

Рис. 2.1 – Лабораторна установка для дослідження природної освітленості робочих місць

 

Люксметр Ю-116 призначений для вимірювання освітленості, що створюється джерелами природного і штучного світла, які розташовані довільно щодо світлоприймача приладу. Прилад має діапазон вимірювання освітленості 5...100000лк. Люксметр Ю116 складається з вимірника 3 та селенового фотоелемента з насадками 4. Вимірник має дві шкали: 0...100 і 0...30. На кожній з них точками відмічено початок переважного діапазону вимірювань: на шкалі 0...100 точка міститься над позначкою 17, на шкалі 0...30 - над позначкою 5. Прилад оснащений кнопками для перемикання шкал та табличкою із схемою, яка зв'язує застосування насадок з діапазонами вимірювань (згідно з таблицею 2.3).

Селеновий фотоелемент міститься в пластмасовому корпусі і має світлочутливу поверхню 30см2. Для зменшення косинусної похибки використовується напівсферична насадка К разом з однією із трьох інших насадок (світлофільтрів) М, Р або Т.

 

Таблиця 2.3 – Технічна характеристика люксметра Ю-116

Діапазон вимірювань, лк:  
з насадкою КМ 50...300; 200...1000
з насадкою КР 500...3000; 2000...10000
з насадкою КТ 5000...30000; 10000...100000

 







Дата добавления: 2015-08-12; просмотров: 369. Нарушение авторских прав; Мы поможем в написании вашей работы!




Практические расчеты на срез и смятие При изучении темы обратите внимание на основные расчетные предпосылки и условности расчета...


Функция спроса населения на данный товар Функция спроса населения на данный товар: Qd=7-Р. Функция предложения: Qs= -5+2Р,где...


Аальтернативная стоимость. Кривая производственных возможностей В экономике Буридании есть 100 ед. труда с производительностью 4 м ткани или 2 кг мяса...


Вычисление основной дактилоскопической формулы Вычислением основной дактоформулы обычно занимается следователь. Для этого все десять пальцев разбиваются на пять пар...

Тактические действия нарядов полиции по предупреждению и пресечению групповых нарушений общественного порядка и массовых беспорядков В целях предупреждения разрастания групповых нарушений общественного порядка (далееГНОП) в массовые беспорядки подразделения (наряды) полиции осуществляют следующие мероприятия...

Механизм действия гормонов а) Цитозольный механизм действия гормонов. По цитозольному механизму действуют гормоны 1 группы...

Алгоритм выполнения манипуляции Приемы наружного акушерского исследования. Приемы Леопольда – Левицкого. Цель...

Медицинская документация родильного дома Учетные формы родильного дома № 111/у Индивидуальная карта беременной и родильницы № 113/у Обменная карта родильного дома...

Основные разделы работы участкового врача-педиатра Ведущей фигурой в организации внебольничной помощи детям является участковый врач-педиатр детской городской поликлиники...

Ученые, внесшие большой вклад в развитие науки биологии Краткая история развития биологии. Чарльз Дарвин (1809 -1882)- основной труд « О происхождении видов путем естественного отбора или Сохранение благоприятствующих пород в борьбе за жизнь»...

Studopedia.info - Студопедия - 2014-2025 год . (0.013 сек.) русская версия | украинская версия