Студопедия Главная Случайная страница Обратная связь

Разделы: Автомобили Астрономия Биология География Дом и сад Другие языки Другое Информатика История Культура Литература Логика Математика Медицина Металлургия Механика Образование Охрана труда Педагогика Политика Право Психология Религия Риторика Социология Спорт Строительство Технология Туризм Физика Философия Финансы Химия Черчение Экология Экономика Электроника

ОБЩИЕ УКАЗАНИЯ





Министерство образования и науки Российской Федерации

Санкт-Петербургский институт машиностроения (ВТУЗ - ЛМЗ)

Кафедра теории механизмов и деталей машин

ВИНТОВЫЕ МЕХАНИЗМЫ

Методические указания
к расчетно-графической работе

 


Санкт-Петербург 2010


Винтовые механизмы: Методические указания к расчетно-графической работе для студентов смешанного и вечернего обуче­ния всех специальностей. Изложен порядок расчета элементов конструкции, методика расчета винтовых механизмов, приведены и систематизированы справочные данные по выбору отдельных параметров.

 

Составители: д.т.н., проф. А.Г. Ташевский

к.т.н., доц. С.Н. Яковлев

Рецензенты: к.т.н., проф. А.В. Приемышев
к.т.н., доц. А.А. Янсон

 

Методические указания утверждены на заседании кафедры

 

Редактор Г.Л. Чубарова

 

П21(03)

Подписано в печать 22. 04. 2003 Формат 60х90 1/16

Бумага тип. №3. Печать офсетная. Усл. печ. л. 1,75

Уч. – изд. л. 1,75 Тираж 150 экз. Заказ № 13

Издание Санкт-Петербургского института машиностроения

195197, Санкт-Петербург, Полюстровский пр., 14

ОП ПИМаш

ОБЩИЕ УКАЗАНИЯ

Задание включает в себя расчетно-пояснительную записку и гра­фическую часть, которые выполняют в соответствии с тре­бованиями ЕСКД. Спецификацию выполняют на отдельном листе. Все расчеты выполняют в системе СИ.

В качестве задания на проектирование выдаются передачи винт – гайка для создания больших осевых сил (домкрат, пресс, тиски и др. винтовые механизмы).

Домкрат (от голл. dommekracht), механизм для подъёма тяжёлых штучных грузов при выполнении ремонтных, монтажных или погрузочно-разгрузочных работ. Для домкратов характерны малые габариты, небольшая масса (обычно не превышает 1% грузоподъёмности), незначительная скорость (0,01…0,25 м/мин) и высота подъёма (0,15…1 м). Однако домкраты специального назначения могут иметь грузоподъёмность в несколько сотен тонн и поднимать груз на высоту в несколько метров. Домкрат обеспечивает плавный подъём грузов, точную их фиксацию и удержание на заданной высоте. По типу привода различают домкраты с ручным и электрическим приводом, а по принципу действия и конструктивным особенностям — реечные, винтовые и гидравлические.

Устройство и принцип действия. Основная деталь винтовых домкратов — винт с шарнирно закреплённой грузоопорной чашкой, приводимый во вращение рукояткой. Удержание груза винтовыми домкратами осуществляется самоторможением винта, что обеспечивает высокую степень безопасности работы. Грузоподъёмность винтовых домкратов обычно не превышает 20т. Домкраты специального назначения изготовляют грузоподъёмностью 100 т и более, при подъёме груза на высоту до 2 м. КПД винтовых домкратов не превышает 0,3 …0,4.

Пресс (франц. presse, от лат. Presso — давлю, жму), машина статического (неударного) действия для обработки материалов давлением. Пресс широко применяют в различных отраслях промышленности для обработки металлов, пластических масс, резины, с.-х. и пищевых продуктов и других материалов, а также для исследования их свойств при высоких давлениях. Наибольшее распространение прессы имеют в металлообрабатывающей промышленности для ковки, объёмной и листовой штамповки, прессования (выдавливания), сборочных операций (запрессовки шестерён, пальцев, колец подшипников), механических испытаний и других целей.

Историческая справка. Ещё в 15—16 вв. в различных ремёслах, не связанных с обработкой металла (маслоделие, виноградарство, переплётное и печатное дело), применялись винтовые прессы с ручным приводом. В конце 17 и начале 18 вв. винтовые прессы начали применять для обработки металлов давлением, в частности для чеканки монет и медалей, а затем для штамповки. С середины 19 в. в кузнечно-штамповочном производстве получили распространение гидравлические прессы.

Устройство и принцип действия. Основные части пресса: ползун (поперечина, траверса), станина с направляющими для ползуна и столом, привод, механизмы управления, средства механизации и автоматизации, инструмент. Подвижная часть инструмента крепится к ползуну (который совершает возвратно-поступательное движение), неподвижная часть — к столу пресса. Формообразование изделия происходит при сдавливании заготовки между подвижной и неподвижной частями инструмента. Главные параметры пресса, в совокупности определяющие его технологические возможности и конструктивные особенности, — номинальное усилие, ход и скорость движения ползуна, размеры стола.

Ниже приведены варианты заданий на проектирование домкрата и пресса.
ЗАДАНИЕ НА ПРОЕКТИРОВАНИЕ

 

Домкрат

 

Номер варианта                    
Грузоподъёмность: F max, кH   15                
Ход домкрата Н mах, мм Н mах = (8…12) d

1 – корпус; 2 – гайка; 3 – винт ходовой; 4 – шайба; 5 – винт; 6 – чашка;
7 – вкладыш; 8 – рукоятка; 9 – кольцо; 10, 11 – винт установочный

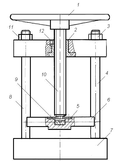
ЗАДАНИЕ НА ПРОЕКТИРОВАНИЕ   Пресс
Номер варианта                    
Сила сжатия F max, кH   20                
Ход ползуна Н mах, мм Н mах = (8…12) d

 

1 – маховик; 2 – гайка; 3,11 – гайка; 4,8 – стойка; 5 – шайба; 6 – ползун;
7 – основание; 9 – вкладыш; 10 – винт ходовой; 12 – винт установочный
Винтовые механизмы рассчитывают в следующей последовательности:

1) выбирают материал деталей;

2) определяют средний диаметр резьбы;

3) выбирают резьбу по ГОСТ;

4) проверяют ее по условию самоторможения и ограничению числа витков;

5) проверяют витки по напряжениям среза;

6) определяют эквивалентные напряжения в опасном сечении винта, проверяют его на устойчивость;

7) находят наружный диаметр гайки, диаметр ее бурта, высоту бурта;

8) определяют размеры стопорного винта;

9) находят размеры рукоятки: диаметр, длину (для пресса диаметр маховика);

10) определяют размеры корпуса домкрата: наружный диаметр трубы, толщину стенки ее, диаметр опорной части (для пресса определяют только внутренний диаметр резьбы стойки).







Дата добавления: 2015-09-07; просмотров: 554. Нарушение авторских прав; Мы поможем в написании вашей работы!




Картограммы и картодиаграммы Картограммы и картодиаграммы применяются для изображения географической характеристики изучаемых явлений...


Практические расчеты на срез и смятие При изучении темы обратите внимание на основные расчетные предпосылки и условности расчета...


Функция спроса населения на данный товар Функция спроса населения на данный товар: Qd=7-Р. Функция предложения: Qs= -5+2Р,где...


Аальтернативная стоимость. Кривая производственных возможностей В экономике Буридании есть 100 ед. труда с производительностью 4 м ткани или 2 кг мяса...

Внешняя политика России 1894- 1917 гг. Внешнюю политику Николая II и первый период его царствования определяли, по меньшей мере три важных фактора...

Оценка качества Анализ документации. Имеющийся рецепт, паспорт письменного контроля и номер лекарственной формы соответствуют друг другу. Ингредиенты совместимы, расчеты сделаны верно, паспорт письменного контроля выписан верно. Правильность упаковки и оформления....

БИОХИМИЯ ТКАНЕЙ ЗУБА В составе зуба выделяют минерализованные и неминерализованные ткани...

Признаки классификации безопасности Можно выделить следующие признаки классификации безопасности. 1. По признаку масштабности принято различать следующие относительно самостоятельные геополитические уровни и виды безопасности. 1.1. Международная безопасность (глобальная и...

Прием и регистрация больных Пути госпитализации больных в стационар могут быть различны. В цен­тральное приемное отделение больные могут быть доставлены: 1) машиной скорой медицинской помощи в случае возникновения остро­го или обострения хронического заболевания...

ПУНКЦИЯ И КАТЕТЕРИЗАЦИЯ ПОДКЛЮЧИЧНОЙ ВЕНЫ   Пункцию и катетеризацию подключичной вены обычно производит хирург или анестезиолог, иногда — специально обученный терапевт...

Studopedia.info - Студопедия - 2014-2026 год . (0.012 сек.) русская версия | украинская версия