Студопедия Главная Случайная страница Обратная связь

Разделы: Автомобили Астрономия Биология География Дом и сад Другие языки Другое Информатика История Культура Литература Логика Математика Медицина Металлургия Механика Образование Охрана труда Педагогика Политика Право Психология Религия Риторика Социология Спорт Строительство Технология Туризм Физика Философия Финансы Химия Черчение Экология Экономика Электроника

МЕТОДИКА ЭКСПЕРИМЕНТА. Лабораторная работа №18а





Лабораторная работа №18а

 

ОПРЕДЕЛЕНИЕ КОЭФФИЦИЕНТОВ ТРЕНИЯ С ПОМОЩЬЮ НАКЛОННОГО МАЯТНИКА

 

Цель работы: ознакомиться со сложным механическим движением; определить коэффициенты трения различных пар материалов.

 

МЕТОДИКА ЭКСПЕРИМЕНТА

На шарик, выведенный из положения равновесия, действуют следующие силы: тяжести , натяжения нити , реакции опоры и трения (рис.1). Под действием результирующей , являющейся геометрической суммой указанных сил , шарик совершает колебательное движение. Наличие силы трения между шариком и поверхностью качения приводит к уменьшения амплитуды колебаний шарика во времени. Работа сил трения может быть представлена в виде

 

где модуль силы трения Fmp =mN; путь, пройденный шариком , m - коэффициент трения; N – модуль силы реакции опоры; ; R - длина нити под­веса; α0 - начальный угол отклонения шарика; αn - конечный угол отклонения шарика; n - число полных колебаний, совершенных шариком при его движении.

Вследствие работы сил трения уменьшается механическая энергия шарика. Убыль механической энергии численно равна работе сил трения:

 

W0-Wn=Amp, (2)

 

где W0,Wn - механическая энергия шарика в исходном и конечном состояниях.

В качестве начального и конечного состояний шарика наиболее удобно принимать положения его максимального отклонения, когда скорость движения шарика равна нулю, а механическая энергия численно равна потенциальной энергии шарика. В этом случае

 

Amp0n=mg(h0-hn), (3)

 

где h0, hn - начальная и конечная высота подъема шарика. Вы­сота подъема шарика может быть выражена через угол наклона штанги β;, угол отклонения шарика от положения равновесия в плоскости колебаний α; и длину нити подвеса (рис.1)

 

h=Rcosβ(1-cosα), (4)

 

В этом случае выражение (3) принимает вид

 

Amp=mgRcosβ(cosαn-cosα0)=

=

поскольку для малых углов (α≤5º 0,09 рад) sinα α;, то

и

Тогда

 

Сопоставляя соотношения (1) и (6), получаем выражение для коэффициента трения скольжения

 

 

где a0 и an выражены в радианах. Поскольку шкала для изме­рения углов a0 и an проградуирована в градусах, то рабочий вид формулы (7) имеет вид:

 

 

где углы a0 и an выражены в угловых градусах.

 

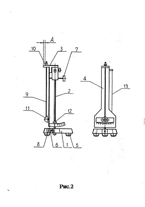
Установка, используемая в настоящей работе, представлена на рисунке 2 и включает в свой состав: основание 1, вертикальную стойку 2, верхний кронштейн 3 с панелью 4, маятник скольжения и маятник качения, которые устанавливаются на верхнем кронштейне 3 поочередно. Основание 1 снабжено тремя регулируемыми опорами 5 и зажимом 6 для фиксации вертикальной стойки 2. Вертикальная стойка 2 выполнена из металлической трубы, на которую нанесена риска, показывающая угол отклонения панели 4 от вертикального положения. Панель 4 имеет прямоугольное окно, в котором устанавливаются сменные образцы в виде пластин. В нижней части панели нанесена шкала отсчета угла отклонения маятников. С помощью винта 7 панель отклоняется от вертикального положения. Угол отклонения панели определяется с помощью шкалы 8, закрепленной в нижней части панели.

Маятник скольжения представляет собой металлический стержень 9, снабженный призматической опорой 10 и обоймой 11, в которую устанавливаются сменные образцы в виде усеченного шара.
Маятник качения представляет собой металлический шарик 12, подвешенный на капроновой нити 13. Шары являются сменными.

 

 







Дата добавления: 2015-08-12; просмотров: 413. Нарушение авторских прав; Мы поможем в написании вашей работы!




Обзор компонентов Multisim Компоненты – это основа любой схемы, это все элементы, из которых она состоит. Multisim оперирует с двумя категориями...


Композиция из абстрактных геометрических фигур Данная композиция состоит из линий, штриховки, абстрактных геометрических форм...


Важнейшие способы обработки и анализа рядов динамики Не во всех случаях эмпирические данные рядов динамики позволяют определить тенденцию изменения явления во времени...


ТЕОРЕТИЧЕСКАЯ МЕХАНИКА Статика является частью теоретической механики, изучающей условия, при ко­торых тело находится под действием заданной системы сил...

Лечебно-охранительный режим, его элементы и значение.   Терапевтическое воздействие на пациента подразумевает не только использование всех видов лечения, но и применение лечебно-охранительного режима – соблюдение условий поведения, способствующих выздоровлению...

Тема: Кинематика поступательного и вращательного движения. 1. Твердое тело начинает вращаться вокруг оси Z с угловой скоростью, проекция которой изменяется со временем 1. Твердое тело начинает вращаться вокруг оси Z с угловой скоростью...

Условия приобретения статуса индивидуального предпринимателя. В соответствии с п. 1 ст. 23 ГК РФ гражданин вправе заниматься предпринимательской деятельностью без образования юридического лица с момента государственной регистрации в качестве индивидуального предпринимателя. Каковы же условия такой регистрации и...

Йодометрия. Характеристика метода Метод йодометрии основан на ОВ-реакциях, связанных с превращением I2 в ионы I- и обратно...

Броматометрия и бромометрия Броматометрический метод основан на окислении вос­становителей броматом калия в кислой среде...

Метод Фольгарда (роданометрия или тиоцианатометрия) Метод Фольгарда основан на применении в качестве осадителя титрованного раствора, содержащего роданид-ионы SCN...

Studopedia.info - Студопедия - 2014-2025 год . (0.011 сек.) русская версия | украинская версия