Студопедия Главная Случайная страница Обратная связь

Разделы: Автомобили Астрономия Биология География Дом и сад Другие языки Другое Информатика История Культура Литература Логика Математика Медицина Металлургия Механика Образование Охрана труда Педагогика Политика Право Психология Религия Риторика Социология Спорт Строительство Технология Туризм Физика Философия Финансы Химия Черчение Экология Экономика Электроника

РЕАЛЬНЫЕ ГАЗЫ. ЖИДКОСТИ





· Уравнение Ван-дер-Ваальса для одного моля газа

,

для произвольного количества вещества ν; газа

,

где a и b — постоянные Ван-дер-Ваальса (рассчитанные на один моль газа); V – объем, занимаемый газом; Vm — молярный объем; р — давление газа на стенки сосуда.

Внутреннее давление, обусловленное силами взаимодействия молекул,

, или .

· Связь критических параметров – объема, давления и температуры газа – с постоянными а и b Ван-дер-Ваальса:

Vm кр=3b; ; .

· Внутренняя энергия реального газа

,

где СV — молярная теплоемкость газа при постоянном объеме.

· Поверхностное натяжение

σ=F/l,

где F – сила поверхностного натяжения, действующая на контур l, ограничивающий поверхность жидкости, или

,

где ΔE – изменение свободной энергии поверхностной пленки жидкости, связанное с изменением площади ΔS поверхности этой пленки.

· Формула Лапласа в общем случае записывается в виде

где р – давление, создаваемое изогнутой поверхностью жидкости; σ поверхностное натяжение; R1 и R2 радиусы кривизны двух взаимно перпендикулярных сечений поверхности жидкости, а в случае сферической поверхности

p=2σ/R.

· Высота подъема жидкости в капиллярной трубке

где σ – краевой угол; R – радиус канала трубки; р – плотность жидкости; g – ускорение свободного падения.

· Высота подъема жидкости между двумя близкими и параллельными плоскостями

где d — расстояние между плоскостями.

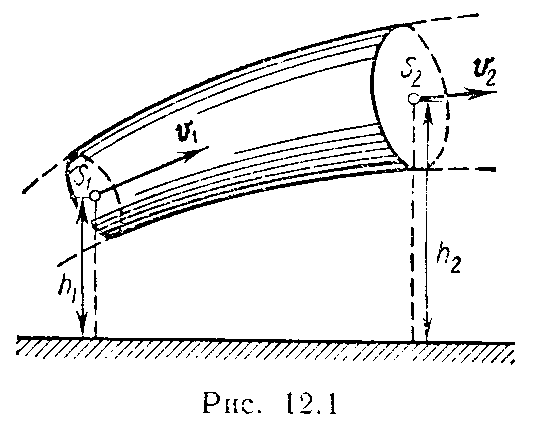
· Расход жидкости в трубке тока (рис. 12.1):

а) объемный расход QV= v S;

б) массовый расход Qm=p v S, где S – площадь поперечного сечения трубки тока; v скорость жидкости; р – ее плотность.

· Уравнение неразрывности струи

,где S1 и S2 – площади поперечного сечения трубки тока в двух местах; v 1 и v2 –соответствующие скорости течений.

· Уравнение Бернулли для идеальной несжимаемой жидкости в общем случае

,

где p1 и р2 статические давления жидкости в двух сечениях трубки тока; v1 и v2 –скорости жидкости в этих сечениях; и – динамические давления жидкости в этих же сечениях; h1 и h2 – высоты их над некоторым уровнем (рис. 12.1); p gh1 и p gh2 – гидростатические давления.

Уравнение Бернулли в случае, когда оба сечения находятся на одной высоте (h1=h2)

.

· Скорость течения жидкости из малого отверстия в открытом широком сосуде

,

где h — глубина, на которой находится отверстие относительно уровня жидкости в сосуде.

· Формула Пуазейля. Объем жидкости (газа), протекающей за время t через длинную трубку,

где r — радиус трубки; l – ее длина; Δ p – разность давлений на концах трубки; η динамическая вязкость (коэффициент внутреннего трения) жидкости.

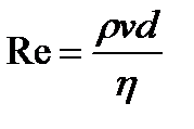
· Число Рейнольдса для потока жидкости в длинных трубках

,

где <v> – средняя по сечению скорость течения жидкости; d – диаметр трубки, и для движения шарика d жидкости

,

где v – скорость шарика; d— его диаметр.

Число Рейнольдса Re есть функция скорости v тела, линейной величины l, определяющей размеры тела, плотности р и динамической вязкости η жидкости, т. е.

.

При малых значениях чисел Рейнольдса, меньших некоторого критического значения Reкp, движение жидкости является ламинарным. При значениях Re>>Reкр движение жидкости переходит в турбулентное.

Критическое число Рейнольдса для движения шарика в жидкости Reкр=0,5; для потока жидкости в длинных трубках Reкр=2300.

· Формула Стокса. Сила сопротивления F, действующаясо стороны потока жидкости на медленно движущийся в ней шарик,

,

где r – радиус шарика; v его скорость.

Формула справедлива для скоростей, при которых число Рейнольдса много меньше единицы (Re<<l).

 







Дата добавления: 2015-08-12; просмотров: 447. Нарушение авторских прав; Мы поможем в написании вашей работы!




Шрифт зодчего Шрифт зодчего состоит из прописных (заглавных), строчных букв и цифр...


Картограммы и картодиаграммы Картограммы и картодиаграммы применяются для изображения географической характеристики изучаемых явлений...


Практические расчеты на срез и смятие При изучении темы обратите внимание на основные расчетные предпосылки и условности расчета...


Функция спроса населения на данный товар Функция спроса населения на данный товар: Qd=7-Р. Функция предложения: Qs= -5+2Р,где...

Потенциометрия. Потенциометрическое определение рН растворов Потенциометрия - это электрохимический метод иссле­дования и анализа веществ, основанный на зависимости равновесного электродного потенциала Е от активности (концентрации) определяемого вещества в исследуемом рас­творе...

Гальванического элемента При контакте двух любых фаз на границе их раздела возникает двойной электрический слой (ДЭС), состоящий из равных по величине, но противоположных по знаку электрических зарядов...

Сущность, виды и функции маркетинга персонала Перснал-маркетинг является новым понятием. В мировой практике маркетинга и управления персоналом он выделился в отдельное направление лишь в начале 90-х гг.XX века...

Субъективные признаки контрабанды огнестрельного оружия или его основных частей   Переходя к рассмотрению субъективной стороны контрабанды, остановимся на теоретическом понятии субъективной стороны состава преступления...

ЛЕЧЕБНО-ПРОФИЛАКТИЧЕСКОЙ ПОМОЩИ НАСЕЛЕНИЮ В УСЛОВИЯХ ОМС 001. Основными путями развития поликлинической помощи взрослому населению в новых экономических условиях являются все...

МЕТОДИКА ИЗУЧЕНИЯ МОРФЕМНОГО СОСТАВА СЛОВА В НАЧАЛЬНЫХ КЛАССАХ В практике речевого общения широко известен следующий факт: как взрослые...

Studopedia.info - Студопедия - 2014-2025 год . (0.014 сек.) русская версия | украинская версия