Студопедия Главная Случайная страница Обратная связь

Разделы: Автомобили Астрономия Биология География Дом и сад Другие языки Другое Информатика История Культура Литература Логика Математика Медицина Металлургия Механика Образование Охрана труда Педагогика Политика Право Психология Религия Риторика Социология Спорт Строительство Технология Туризм Физика Философия Финансы Химия Черчение Экология Экономика Электроника

Теоретичне обґрунтування. Димогенератор.Копчення – це обробка м’ясопродуктів просочуванням коптильними речовинами, які одержують у вигляді коптильного диму внаслідок неповного згоряння





Димогенератор. Копчення – це обробка м’ясопродуктів просочуванням коптильними речовинами, які одержують у вигляді коптильного диму внаслідок неповного згоряння деревини. В продукті під час коптіння відбуваються зміни, що пов’язані не тільки з дією коптильних речовин, але і з температурним режимом і тривалістю оброки. М’ясопродукти коптять при різних режимах: 18 – 20 0С (холодне коптіння), 35 – 50 0С (гаряче коптіння), 72 – 120 0С (запікання в димі). Для одержання диму використовують наступні породи деревини (в порядку зниження технологічної цінності): бук, дуб, береза, тополя, вільха, осина. Застосування хвойних порід дерев не рекомендується, через наявність в них смол, а березу можна використовувати тільки без берести.

Крім обробки коптильним димом коптіння проводять шляхом нанесення на поверхню м’ясопродуктів тонкого шару коптильної рідини, яку одержують із продуктів неповного згоряння деревини або суміші синтетичних компонентів.

Для коптіння ковбасних виробів застосовують термоагрегати, автокоптильні, універсальні термокамери і коптильні шафи.

В термоагрегатах і автокоптилнях теплова обробка здійснюється при безперервномі русі продукту, в універсальних термокамерах нерухомий продукт поступово обробляється відповідно з технологією (обжарка, варка, коптіння, охолодження і сушка).

Термоагрегати призначені для безперервної термообробки м’ясопродуктів. Вони являють собою механізовані агрегати (об’єднання декількох апаратів в один) з виносними димогенераторами, з регулюванням подачі суміші диму та повітря, механізованим переміщенням продукції, дистанційним контролем і автоматичним регулюванням параметрів процесу. Термокамери бувають одно- і багатокамерні, стаціонарні і нестаціонарні. Технологічне обладнання оснащене димогенераторами, кондиціонерами, вентиляторами і системами контролю та регулювання процесу.

Димогенератор – одна із важливіших частин обладнання для коптіння. Вони бувають з періодичною і безперервною подачею тирси. Способи нагрівання для одержання диму можуть бути слідуючими: спалювання деревного палива або газу, електронагрів, тертя або сумісна дія електронагріву і тертя, подача гарячого повітря або перегрітої пари, при витанні або в киплячому шарі тирси, за кількістю ярусів, на яких розташовується тирса, димогенератори розділяють на одно- та багатоярусні. За методом відводу диму вони бувають з загальним та роздільним відводом.

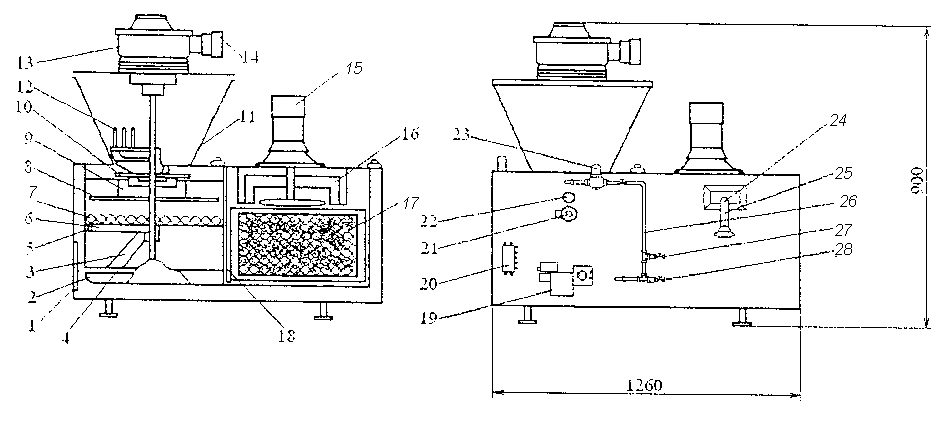
Димогенератор Д9-ФД2Г. Димогенератор Д9-ФД2Г призначений для безполум’яного спалювання тирси з метою отримання промислового диму, що застосовується для холодного і гарячого копчення всіх видів м’ясних продуктів.

Димогенератор Д9-ФД2Г являє собою двосекційний апарат прямокутної форми, виконаний у вигляді двох камер: камери згоряння тирси та камери очищення диму.

Камера згоряння – це циліндр, всередині якого на опорному кільці змонтована колосникова решітка. На неї вкладають два трубчастих електронагрівача для розпалювання тирси.

Колосникова решітка очищується від золи гребінкою, що обертається навколо своєї осі. Під камерою згоряння встановлений ящик для збирання золи. Зола вивантажується в ящик механічно за допомогою лопатки. Над камерою згоряння змонтований бункер для завантаження тирси. Щоб уникнути зависання тирси на стінках бункера і для її розпушування змонтований зворушувач, який приводиться в рух від електродвигуна і редуктора, розташованих на кришці бункера. Кількість тирси, що подається на колосникову решітку, регулюється дозатором за допомогою маховика. При обертанні мішалки тирса розділяється рівномірно. Для гасіння полум’я у випадку горіння тирси у верхній частині камери згоряння над колосниковою решіткою змонтований зрошувач.

Камера очищення диму має прямокутну форму. У ній на опорній рамі встановлений кошик з напівпорцеляновими кільцями, що виконують роль фільтрів для очищення диму від концирогенних і смолистих речовин, дьогтю та золи. Для додаткового очищення диму перед камерою очищення створюється водяна завіса за допомогою труби з отворами.

Для витяжки диму над камерою очищення змонтований вентилятор, що приводиться в дії від електродвигуна.

На зовнішній поверхні димогенератора є дверцята, патрубок для виходу диму, водопровід, виконавчий механізм і коробка введення. За роботою димогенератора спостерігають через оглядове вікно, яке розташоване на дверцятах.

На водопровідній системі змонтований електромагнітний клапан для подачі води в систему і вентиль для подачі пари. Виконавчий механізм служить для пропорційної подачі повітря в топковий простір, що забезпечує рівномірне горіння. На вихідному патрубку встановлений електроконтактний термометр, у камері згоряння – термореле для контролю і регулювання температури диму.

В основу димогенератору вмонтований патрубок із краном для зливу води. Щоб уникнути попадання води в камеру згоряння під час промивання кілець в зовнішню поверхню димогенератора приварений переливний патрубок з вентилем.

Дим одержують в наслідок згоряння тирси в топці й очищення його при проходженні через фільтри. Для керування димогенератором поруч на підлозі розміщений пульт керування, з’єднаний з ним джгутом.

 

 

Рис. 2.8. Димогенератор Д9-ФД2Г

1 – дверцята; 2 – ящик для збирання золи; 3 – лопатка; 4 – гребінка; 5 – опорне кільце; 6 – колосникова решітка; 7 – електронагрівач; 8 – мішалка; 9 – дозатор; 10 – зрошувач; 11 – бункер; 12 – зворошовач; 13 – редуктор; 14, 15 –електродвигуни; 16 – вентилятор; 17 – корзина; 18 – труба; 19 – виконавчий механізм; 20 – коробка введення; 21 – маховик; 22 – термореле;

23 – клапан; 24 – патрубок; 25 – термометр; 26 – водопровідна система; 27, 28 – вентилі.

 

Термокамера автоматизована Д5-ФТГ для теплової обробки ковбасних виробів. Термокамера Д5-ФТГ призначена для теплової обробки варених і напівкопчених ковбас, а також сосисок і сардельок. Складається з термокамер, гребінок, щитів керування, що забезпечують єдиний технологічний цикл теплової обробки ковбасних виробів.

Термокамери – це збірні конструкції із торцевих панелей з дверима і бокових зовнішніх і внутрішніх, на яких розташовані калорифери, напірних повітропроводів і розподільників повітря.

На кришці змонтовані вентиляторні установки до складу яких входять вентилятор, електродвигун, підшипниковий вузол, повітропроводи підсосу повітря, диму і повітропровід для викидання повітря в атмосферу.

Для регулювання кількості повітря і диму, а також вологого робочого середовища, яке необхідно викинути, встановлені заслінки. Управління ними контролюється за допомогою ламп, що розташовані на верхній дверці фасаду шафи керування.

Термокамера є установкою періодичної дії. Завантаження в неї ковбасних виробів відбувається на підвісних рамах розмірами 1200×1000 ×;1650мм і рамах, що встановлюються на підлозі розмірами 1200×1000×2000мм. Передбачене ручне дистанційне (із щита) керування автоматичне дистанційне (програми) для обробки сосисок, сардельок, ковбасних виробів ø 65, 80, 95, 100, 120 мм.

 







Дата добавления: 2015-08-10; просмотров: 1021. Нарушение авторских прав; Мы поможем в написании вашей работы!




Функция спроса населения на данный товар Функция спроса населения на данный товар: Qd=7-Р. Функция предложения: Qs= -5+2Р,где...


Аальтернативная стоимость. Кривая производственных возможностей В экономике Буридании есть 100 ед. труда с производительностью 4 м ткани или 2 кг мяса...


Вычисление основной дактилоскопической формулы Вычислением основной дактоформулы обычно занимается следователь. Для этого все десять пальцев разбиваются на пять пар...


Расчетные и графические задания Равновесный объем - это объем, определяемый равенством спроса и предложения...

Разновидности сальников для насосов и правильный уход за ними   Сальники, используемые в насосном оборудовании, служат для герметизации пространства образованного кожухом и рабочим валом, выходящим через корпус наружу...

Дренирование желчных протоков Показаниями к дренированию желчных протоков являются декомпрессия на фоне внутрипротоковой гипертензии, интраоперационная холангиография, контроль за динамикой восстановления пассажа желчи в 12-перстную кишку...

Деятельность сестер милосердия общин Красного Креста ярко проявилась в период Тритоны – интервалы, в которых содержится три тона. К тритонам относятся увеличенная кварта (ув.4) и уменьшенная квинта (ум.5). Их можно построить на ступенях натурального и гармонического мажора и минора.  ...

Методы анализа финансово-хозяйственной деятельности предприятия   Содержанием анализа финансово-хозяйственной деятельности предприятия является глубокое и всестороннее изучение экономической информации о функционировании анализируемого субъекта хозяйствования с целью принятия оптимальных управленческих...

Образование соседних чисел Фрагмент: Программная задача: показать образование числа 4 и числа 3 друг из друга...

Шрифт зодчего Шрифт зодчего состоит из прописных (заглавных), строчных букв и цифр...

Studopedia.info - Студопедия - 2014-2026 год . (0.008 сек.) русская версия | украинская версия