Студопедия Главная Случайная страница Обратная связь

Разделы: Автомобили Астрономия Биология География Дом и сад Другие языки Другое Информатика История Культура Литература Логика Математика Медицина Металлургия Механика Образование Охрана труда Педагогика Политика Право Психология Религия Риторика Социология Спорт Строительство Технология Туризм Физика Философия Финансы Химия Черчение Экология Экономика Электроника

Технічна характеристика машини А9-КЛА-1





Продуктивність, кг/с (кг/год.) 0,83 (3000)

Частота обертання лопатевого вала, с-1 0,41

Встановлена потужність, кВт 3

Витрата води, м3/год. 0,0008

Габаритні розміри, мм 4635×1060×1915

Маса, кг 1085

Мийнострушуваліні машини. Машина КМЦ (рис. 13.3) призначена для миття овочів, ягід, плодів бобових культур, а також для миття й охолодження сировини після теплової обробки.

Рис. 13.3. Мийнострушувальна машина КМЦ

1 – рама; 2 – електродвигун; 3 – регулювальна засувка; 4 – сито; 5 – бункер; 6 – штанги; 7 – шприцевий колектор; 8 – шарнірні підвіски; 9 – ексцентриковий механізм; 10 – вал; 11 – корито; 12 – клинопасова передача.

Складається машина з рами 1 (стальний прокат), на якій змонтовані сито 4 з шарнірними підвісками 8, ексцентрикові механізми 9, штанги 6, що з’єднують ексцентрики з ситом, приводний електродвигун 2, корито 11 для збору і відведення забрудненої води, шприцевий колектор 7, завантажувальний бункер 5 з регулювальною засувкою 3.

Сировина надходить у бункер 5, а з нього – на сито 4, що здійснює зворотно-поступальний рух. Кількість надходження на сито за одиницю часу регулюється засувкою 3. Завдяки складному рухові і нахилу сита сировина інтенсивно перемішується і рухається у бік нахилу. Над ситом розміщений шприцевий колектор 7, з якого сировина в процесі перемішування і пересування шприцюється чистою проточною водою. Брудна вода після миття збирається в кориті 11 і відводиться в каналізацію.

Зворотно-поступальний рух ситу надається від ексцентрикового механізму, вал 10 приводиться в обертання від електродвигуна 2 клинопасовою передачею 12.

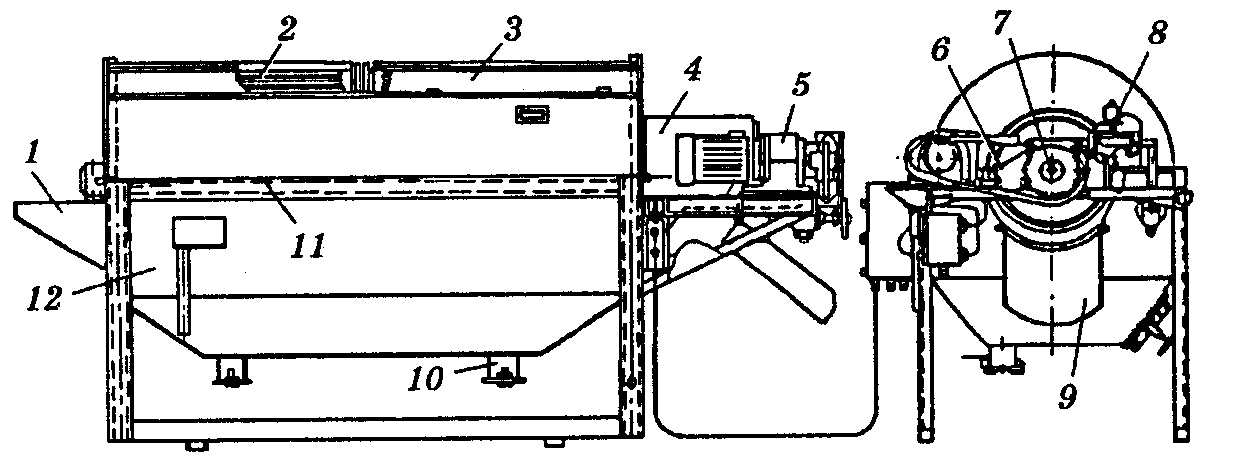
Барабанні мийні машини. Машина А9-КМБ призначена для миття твердих плодів і овочів, її використовують в лінії виробництва овочевих закусочних консервів. Довжина частинок сировини, що піддається миттю, має становити 15-200 мм.

 

Рис. 13.4. Барабанна мийна машина А9-КМ2

1 – лоток; 2,3 – барабани; 4 – барабан з перфорованою поверхнею; 5 – двигун-редуктор; 6 – ланцюгова передача; 7 – загальний вал; 8 – магнітний вентиль; 9 – лоток; 10 – люки; 11 – зварний каркас; 12 – ванна.

Змонтована машина на зварному каркасі 11 з фасонного стального прокату. На каркасі укріплена ванна 12, розділена перегородкою на дві частини, в кожній з яких розміщені барабани 2 і 3 з однаковими довжиною і діаметром. За барабаном 3 розміщений третій барабан 4. Всі три барабани встановлені на загальному валу 7 і здійснюють обертальний рух. Вал 7 змонтований на каркасі в підшипниках коливання.

Перші два барабани призначені для відмочування і відокремлення бруду. Поверхня їх виконана з фасонних зігнутих стрічок. Між ними є щілини, крізь які бруд потрапляє у ванну і осідає на днищі, в якому є люки 10 для видалення бруду під час санітарної обробки машини. На третьому барабані 4 сировина начисто обполіскується проточною водою, для чого він обладнаний душовим пристроєм, а поверхня його перфорована.

Подається сировина приймальним лотком 1, а відмита на наступну операцію – лотком 9.

Привод машини здійснюється від двигуна-редуктора 5 через ланцюгову передачу 6. Вода в душовий пристрій подається через запірний магнітний вентиль 8, зблокований з приводним електродвигуном.

Сировина з лотка 1 потрапляє на барабан 3, а з нього спеціальним ковшем – на барабан 4. Промита сировина спрямовується в лоток 9 і далі.







Дата добавления: 2015-08-10; просмотров: 1529. Нарушение авторских прав; Мы поможем в написании вашей работы!




Важнейшие способы обработки и анализа рядов динамики Не во всех случаях эмпирические данные рядов динамики позволяют определить тенденцию изменения явления во времени...


ТЕОРЕТИЧЕСКАЯ МЕХАНИКА Статика является частью теоретической механики, изучающей условия, при ко­торых тело находится под действием заданной системы сил...


Теория усилителей. Схема Основная масса современных аналоговых и аналого-цифровых электронных устройств выполняется на специализированных микросхемах...


Логические цифровые микросхемы Более сложные элементы цифровой схемотехники (триггеры, мультиплексоры, декодеры и т.д.) не имеют...

ОЧАГОВЫЕ ТЕНИ В ЛЕГКОМ Очаговыми легочными инфильтратами проявляют себя различные по этиологии заболевания, в основе которых лежит бронхо-нодулярный процесс, который при рентгенологическом исследовании дает очагового характера тень, размерами не более 1 см в диаметре...

Примеры решения типовых задач. Пример 1.Степень диссоциации уксусной кислоты в 0,1 М растворе равна 1,32∙10-2   Пример 1.Степень диссоциации уксусной кислоты в 0,1 М растворе равна 1,32∙10-2. Найдите константу диссоциации кислоты и значение рК. Решение. Подставим данные задачи в уравнение закона разбавления К = a2См/(1 –a) =...

Экспертная оценка как метод психологического исследования Экспертная оценка – диагностический метод измерения, с помощью которого качественные особенности психических явлений получают свое числовое выражение в форме количественных оценок...

Почему важны муниципальные выборы? Туристическая фирма оставляет за собой право, в случае причин непреодолимого характера, вносить некоторые изменения в программу тура без уменьшения общего объема и качества услуг, в том числе предоставлять замену отеля на равнозначный...

Тема 2: Анатомо-топографическое строение полостей зубов верхней и нижней челюстей. Полость зуба — это сложная система разветвлений, имеющая разнообразную конфигурацию...

Виды и жанры театрализованных представлений   Проживание бронируется и оплачивается слушателями самостоятельно...

Studopedia.info - Студопедия - 2014-2025 год . (0.165 сек.) русская версия | украинская версия